1. 鉴黄师app免费安装

    当前位置:首页 > 党政学工 > 鉴定标准 > 气相色谱-质谱联用法测定 硫化氢中毒血液中的硫化物实施规范

    气相色谱-质谱联用法测定 硫化氢中毒血液中的硫化物实施规范

    发布日期:2018-06-30

    前 言

    本技术规范按照GB/T 1.1-2009的规则起草。
    本技术规范由重庆法医验伤所提出。
    本技术规范由司法部鉴定管理局归口。
    本技术规范起草单位: 重庆法医验伤所。
    本技术规范主要起草人: 丁世家,李剑波,赵华,靳红卫,李永国,刘德伟。
    本技术规范为首次发布。


    气相色谱-质谱联用法测定硫化氢中毒血液中的硫化物实施规范


    范围
    本技术规范规定了气相色谱-质谱联用测定硫化氢中毒血液中硫化物的方法。
    本技术规范适用于硫化氢中毒血液中硫化物的定性及定量分析。

    规范性引用文件
    下列文件对于本文件的应用是必不可少的。凡是注日期的引用文件,仅注日期的版本适用于本文件。
    凡是不注日期的引用文件,其新版本(包括所有的修改单)适用于本文件。
    GB/T 6682 分析实验室用水规格和试验方法

    检测范围与检出限
    硫化氢中毒血液中硫化物测定方法的检测范围为0.05~10.0 mmol/L,其检出限为0.007 mmol/L

    原理
    硫化氢中毒血液中的多种形态硫化物在碱性条件下转化成硫离子,经衍生化后采用液-液萃取法提取衍生物,并用气相色谱-质谱联用仪进行检测;经与硫化钠对照品比较,以保留时间、特征离子进行定性分析,用内标法进行定量分析。硫化氢衍生物的质谱图与色谱图参见附录A。

    实用检材
    硫化氢中毒实用检材一般须迅速采集新鲜的血液,并注意密封冷冻保存和及时检验,防止检材腐败产生硫化氢而引起干扰。

    试剂和材料
    除另有规定外,试剂均为分析纯,水为GB/T6682规定的一级水。 需要的试剂和材料如下:

    a) 硫化钠:分析纯,含量 99%以上;
    b) 硫化钠标准系列工作液:精密称取对照品硫化钠适量,用一级水配成 20.0 mmol/L 的硫化钠标准溶液(储备液),将储备液用一级水稀释成浓度为 0.5 mmol/L、 1.0 mmol/L、 2.0 mmol/L、5.0 mmol/L 和 10.0 mmol/L 的硫化钠标准系列工作液;
    c) 五氟苄基溴:用甲苯配制成 20.0 mmol/L 的溶液;
    d) 1,3,5-三溴苯(TBB):用乙酸乙酯配制成 0.01mmol/L 的溶液;
    e) 苯扎氯铵;
    f) 四硼酸钠;

    g) 磷酸二氢钾;
    h) 乙酸乙酯;
    i) 甲苯。

    仪器
    需要的仪器如下:
    a) 气相色谱-质谱联用仪:配有电子轰击离子源(EI);
    b) 分析天平:感量 0.1 mg;
    c) 漩涡振荡器;
    d) 低温离心机;
    e) 精密移液器;
    f) 可控温摇床。

    测定步骤
    8.1 样品处理
    取血液0.4mL于具塞离心管中,加入1.5 mL 5.0 mmol/L苯扎氯铵的 0.04 mol/L四硼酸钠溶液,然后加入20.0 mmol/L五氟苄基溴甲苯溶液1.0mL、 0.01 mmol/L TBB乙酸乙酯溶液1.0 mL,加盖密封,于振荡器中涡旋振荡1 min,置于55℃恒温摇床中振摇4h, 加入0.1 g的磷酸二氢钾,振荡器中涡旋振荡1min,于转速4000 r/min离心5 min,分离有机层,取样1.0 L进行气相色谱-质谱联用分析。 五氟苄基溴与中毒血液中硫离子发生的衍生化反应参见附录B。
    8.2 测定
    8.2.1 气相色谱-质谱联用仪测定参考条件
    气相色谱-质谱联用仪测定参考条件如下:
    a) 色谱柱:推荐使用 HP-5MS 30 m
    ×0.25 mm×0.25 μm高效毛细管色谱柱;也可以使用 Rtx-5MS,Rtx-5 Amine, DB-5MS, PTE-5 等色谱柱;
    b) 柱温:初始温度 50 ℃,保持 1 min,以 10 ℃/min 升到 280 ℃,保持 1 min;
    c) 进样口温度: 200 ℃;
    d) 传输线温度: 240 ℃;
    e) 载气:氦气,纯度≥99.9999%,流速 1.0mL/min;
    f) 分流比: 10:1;
    g) 进样量: 1.0 μL;
    h) 离子源:电子轰击离子源;
    i) 检测方式:选择离子检测扫描,硫化物衍生物的特征离子为 m/z 394, m/z 181, m/z 45;内标 TBB 的特征离子为 m/z 312, m/z 233,m/z 154。
    8.2.2 定性测定
    将空白检材、空白添加( Na2S)检材和样品检材按照8.1处理后,在相同色谱条件下进行GC/MS分析,分别以空白添加检材总离子流图中内标和硫化物衍生物的保留时间和保留时间对应的特征离子峰作为参照,对样品检材进行定性分析,以空白检材进行方法的专属性测定。硫化氢中毒血液中硫化物的GC/MS分析参数参见附录C。
    8.2.3 定量测定
    8.2.3.1 精密度与检出限
    定量测定采用内标法-单点校正法或内标法-标准曲线法定量测定。该方法精密度: CV<10%;检出限:可检出 0.007 mmol/L的硫化物。
    8.2.3.2 内标法-单点校正法
    在空白血液中添加相近浓度的对照品,和检材按照以上步骤同时进行定量测定。检材浓度应在添加对照品浓度的±50%以内。
    8.2.3.3 内标法-校准曲线法
    在空白血液中添加适量硫化钠对照品制得一系列校准样品,以硫化钠衍生化物与内标峰面积比对硫化钠浓度绘制标准曲线,用标准曲线法对检材进行定量,并且保证所测样品中硫化物的浓度值在其线性范围内。
    8.3 平行试验
    8.3.1 
    按以上步骤对同一试样进行平行试验。
    8.3.2 平行试验中两份检材测定结果按两份检材的平均值计算,双样相对相差不得超过 20%。
    8.3.3 双样相对相差 d 按照式( 1)及式( 2) 计算:

    1.png

    式中:
    C
    1、 C2——两份样品平行定量测定的结果。
    8.4 空白试验
    除以相同基质空白替代检材外,均按上述步骤进行。

    结果计算
    以内标-校准曲线法或按式(3)计算被测样品中硫化物的浓度:

    2.png

    式中:
    C——血液样品中目标物的浓度,单位为毫摩尔每升(mmol/L);
    A——血液样品中目标物的峰面积;
    A′ ——标准溶液中目标物的峰面积;

    SF/Z JD0107013-2014
    Ai′ ——标准溶液中内标物的峰面积;
    Ai——血液样品中内标物的峰面积;
    C——标准溶液中目标物的浓度,单位为毫摩尔每升(mmol/L)。

    SF/Z JD0107013-2014

    附 录 A
    (资料性附录)
    硫化氢衍生物的质谱图与色谱图


    硫化氢衍生物的质谱图见图A.1。

    3.png

     

    图A.1 硫化氢衍生物的质谱图

     

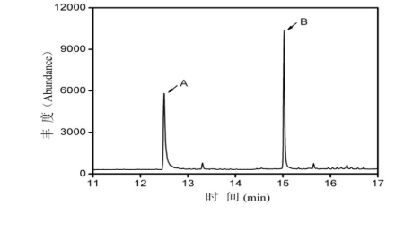
    硫化氢衍生物的的色谱图见图A.2。


     

    4.png

    说明:
    A: TBB(内标),保留时间为12.5 min;
    B:硫化氢中毒血中的硫化氢,保留时间为15.0 min。
    图A.2 硫化氢衍生物的色谱图

     

    附 录 B
    (资料性附录)
    五氟苄基溴与中毒血液中硫离子发生的衍生化反应


    五氟苄基溴与中毒血液中硫离子发生的衍生化反应见图B.1。

     

    5.png


    附 录 C
    (资料性附录)
    硫化氢中毒血液中硫化物的 GC/MS 分析参数


    硫化氢中毒血液中硫化物的GC/MS分析参数见表C.1。
    图C.1 硫化氢中毒血液中硫化物的 GC/MS 分析参数

    中文名

    英文名

    特征离子

    1,3,5-三溴苯

    1,3,5-tribromobenzene,TBB  

    312*/233/154

    五氟苄基硫醚

    Bis(pentafluorobenzyl)disulfide,BPFBD  

    181*/394/45

    注: *为定量离子。